Replacement Parts source??? at DVinfo.net
DV Info Net

Go Back   DV Info Net > Sony XAVC / XDCAM / NXCAM / AVCHD / HDV / DV Camera Systems > Sony Digital Cinema Camera Systems > Sony NXCAM NEX-FS100 CineAlta

Sony NXCAM NEX-FS100 CineAlta
An interchangeable lens AVCHD camcorder using E-Mount lenses.

Reply
 
Thread Tools Search this Thread
Old July 1st, 2013, 12:37 AM   #1
Trustee
 
Join Date: May 2004
Location: Pembroke Pines, Fl.
Posts: 1,842
Replacement Parts source???

While I love the camera, there are several parts that are cheaply made and break easilly. I've been on a Sony scavenger hunt looking for the following:
1- Stock Viewfinder - a pa dropped mine and I cam't put humpty together again. Although I rely on my Zacuto evf and z finder, I really want to replace the stock viewfinder.
2- The shotgun mic mount. Camera roled sideways while on the floor and the chinsy mount got busted. What a piece of junk!!!
3- The little bolt that tightens and locks the forward and backward movement of the mic mount. The one on camera is stripped.

I've searched on one of the Sony pages and I get the "model not found" message when I look for parts or a parts manual. BH gave me a number which took forever to reach a human, who was confused about how and where to find replacement parts...
If anybody has found out how and where to order parts, and possibly a parts or service manual,I'd really appreciate the info.
Bruce Yarock

One ,more question:
Are there any Sony batteries that last longer than an hour , after being used and re charged many times??
Bruce S. Yarock is offline   Reply With Quote
Old August 21st, 2013, 11:07 AM   #2
Regular Crew
 
Join Date: Mar 2013
Location: Paradise, CA
Posts: 158
Re: Replacement Parts source???

totally can help with this:

Sony | Services and Programs

Questions or Approvals
Call directly at 866-766-9272 (Option 2) during business hours ( 8:30am to 5:00pm ). You may also FAX your estimate approval anytime to the appropriate Service Center.
Chris Quevedo is offline   Reply With Quote
Old August 21st, 2013, 04:41 PM   #3
Regular Crew
 
Join Date: Mar 2013
Location: Paradise, CA
Posts: 158
Re: Replacement Parts source???

here's where to get a replacement viewfinder tube! i saved your life!!!!

https://www.servicesplus.sel.sony.co...A1826121A.aspx
Chris Quevedo is offline   Reply With Quote
Old August 21st, 2013, 04:51 PM   #4
Regular Crew
 
Join Date: Mar 2013
Location: Paradise, CA
Posts: 158
Re: Replacement Parts source???

sorry, don't know about the other parts, you'll have to call
Chris Quevedo is offline   Reply With Quote
Old August 22nd, 2013, 05:49 AM   #5
Inner Circle
 
Join Date: Jan 2004
Location: Boca Raton, FL
Posts: 3,014
Re: Replacement Parts source???

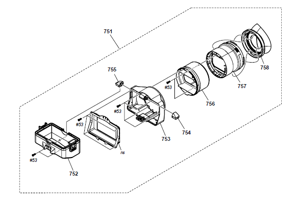
Individual parts
X25815831 VF FRONT ASSY (Ref 752)
X25815841 VF REAR ASSY (Ref 753)
426921601 BASE (R) HINGE (Ref 754)
426921501 BASE (L) HINGE (Ref 755)
426921401 JOINT VF REAR (Ref 756)
X25815851 LOUPE ASSY VF (Ref 757)
387820802 EYE CUP (Ref 758)
308020621 SCREW TAPPING P2 (Ref #53)

Complete Viewfinder block assy.
PN: A1826121A VF BLOCK ASSY (Ref 751) – Includes all parts inside the dotted line.

To order in the U.S. contact one of the following Sony Authorized Part distributors

Andrews Electronics Inc
661-257-7700
Andrews Electronics

Herman Electronics
www.hermanelectronics.com
Attached Thumbnails
Replacement Parts source???-image001.png  
Les Wilson is offline   Reply With Quote
Old August 22nd, 2013, 05:53 AM   #6
Regular Crew
 
Join Date: Mar 2013
Location: Paradise, CA
Posts: 158
Re: Replacement Parts source???

there ya go. so for future reference its name is "Viewfinder Block Assembly" and its $147.97
Chris Quevedo is offline   Reply With Quote
Old August 24th, 2013, 07:02 AM   #7
Trustee
 
Join Date: May 2004
Location: Pembroke Pines, Fl.
Posts: 1,842
Re: Replacement Parts source???

Thanks, Chris
I ordered the view finder asy,and the microphone bar and holder fom Sony pro parts. The vf and mic holder have to come from Japan ( 3-4 weeks) amd the bar is in sock. They're pretty helpfull and easy to deal with.

The other problem I have , and I've heard this from several other guys, is that set screw taht allows you to tighten the mic holder tube that slides forwards and back wards. It looks like something is stripped inside the assy, so the little screw can't tighten. In addition , that whole assy isn't yet on their parts list.
Any suggestions?
Bruce Yarock
Digital Video News, Reviews and Forums at DVInfo.net
Bruce S. Yarock is offline   Reply With Quote
Old August 26th, 2013, 11:47 AM   #8
Contributor
 
Join Date: Jan 2003
Location: Kansas City, MO
Posts: 4,449
Re: Replacement Parts source???

First thing I did was buy a handle with mic holder. Got the Zacuto and it is great and like all Zacuto stuff built like a tank. However, I wanted one that was easier to swivel around, back and forth so I ended up with the Berkey System. Not as solid as Zacuto but more flexible for my purposes. Both brand have mic mount attachments.
Bill Pryor is offline   Reply With Quote
Old August 26th, 2013, 01:44 PM   #9
Trustee
 
Join Date: May 2004
Location: Pembroke Pines, Fl.
Posts: 1,842
Re: Replacement Parts source???

Bill,
I bought the Berkey plate and carrying handle last year. Very sturdy. But I didn't know they also carried a mic holder . Wonder if it works with what I already have...
Do you have a link to the mic holder?
Thanks
Bruce Yaroc
www.videoproductionfortlauderdale.com
Bruce S. Yarock is offline   Reply With Quote
Old September 23rd, 2013, 01:23 PM   #10
Tourist
 
Join Date: Nov 2012
Location: Los Angeles, CA
Posts: 4
Handle Block Assembly

I've had my FS100 for about two years (Love It!) and have used it to shoot three feature films,
numerous live events, real estate videos, and interviews, and now have the stripped
locking knob problem that is so common where the microphone bar assembly meets the, cough,
"handle".

Thanks to the posts above, I've located the replacement parts and exploded view diagram
and found that there are three ways to go here...

The First Option is to order the Base Assy, Handle (811), and the Knob, HN Lock (813) and attempt to carefully disassemble it all, however the cold shoe on top is comprised of several parts and doesn't look too simple. These two parts are about $150.00 by themselves.

The Second Option I've found is to to just order the whole fully built assembly (801) for about ten dollars more, (a much better solution) however I believe that it is a poor design on Sony's part, and I didn't really want to hassle with them over it. Especially if they were to ask me to send the camera in to evaluate a claim. The full part number here is A-1826-126-A

https://www.servicesplus.sel.sony.com/sony-parts.aspx

This leads to the Third Option which is to repair or modify the unit myself and save $160.00
So I cut a strip of one inch wide self-adhesive velcro and applied it to the Microphone bar assembly (809) I tried to find a location on the bar which would clear the tilt of the screen, yet pull the mic as far back as possible to keep it out of wide-angle shots. I used the soft side of the velcro, and then simply pulled the Mic Bar through until the velcro seated firmly holding the Mic Bar in place.
This works just fine. Yes there is some of the black velcro still showing, but it doesn't bother me, I'd rather have it there than having the mic clack loosely back and forth when I'm out in the field.

As an alternative to this, another solution would be to re-tap the thread of the locking knob hole
with a larger thread, in this case I would have used a 4-40 tap (#4 screw with 40 threads to the inch)
and found some cool little locking knob on-line as a place such as McMaster.com
It wouldn't have been quite that simple however as there is a shoe-plate assembly inside the ring and more parts in there than you might expect. I thought twice about disassembling all of that and all of the screws and or possibly stripping or cracking the plastic handle itself.

In the process I found that the four tiny philips screws for the cold-shoe were loose on the camera
body itself as well as the four tiny screws on the cold-shoe plate on the underside of the Handle Assembly and tightened then firmly but gently making sure not to strip anything.
I suggest everyone have a look at theirs and firm up the screws a little.
I was temped to put a drop of crazy glue in there or a tiny drop of 3M Super Adhesive, but thought better of it.

I have read somewhere that someone's handle fell completely off once, so apparently it can happen, in the process they reported that their camera dropped and hit the deck

The Berkey System and Shooting Machine handle solutions on the other hand are definitely recommended!

Exploded View Should Be Here

file:///Users/cynthiawebster/Desktop/image001-1.png

Last edited by Cynthia Webster; September 23rd, 2013 at 01:25 PM. Reason: Incorrect Link
Cynthia Webster is offline   Reply With Quote
Old October 1st, 2013, 12:30 PM   #11
Contributor
 
Join Date: Jan 2003
Location: Kansas City, MO
Posts: 4,449
Re: Replacement Parts source???

I have the Berkey system--fantastic. A worthwhile investment.
Bill Pryor is offline   Reply With Quote
Old March 30th, 2014, 12:56 PM   #12
Regular Crew
 
Join Date: Jan 2011
Location: Melbourne
Posts: 37
Re: Replacement Parts source???

hi guys
I cannot find the exploded view, it kept saying that "Model not found".
So what is the correct model number for sony fs100?
I tried other model like sony pmw f3, just typed PMW and it showed up many models related.
Koravik Rakpetchmanee is offline   Reply
Reply

DV Info Net refers all where-to-buy and where-to-rent questions exclusively to these trusted full line dealers and rental houses...

B&H Photo Video
(866) 521-7381
New York, NY USA

Scan Computers Int. Ltd.
+44 0871-472-4747
Bolton, Lancashire UK


DV Info Net also encourages you to support local businesses and buy from an authorized dealer in your neighborhood.
  You are here: DV Info Net > Sony XAVC / XDCAM / NXCAM / AVCHD / HDV / DV Camera Systems > Sony Digital Cinema Camera Systems > Sony NXCAM NEX-FS100 CineAlta

Thread Tools Search this Thread
Search this Thread:

Advanced Search

 



All times are GMT -6. The time now is 02:32 AM.


DV Info Net -- Real Names, Real People, Real Info!
1998-2025 The Digital Video Information Network